
聯係人:徐經理
電話:139 6412 8213
地址:濟南市長清區大學科技園
網址:www.zjdiban.com
密碼遙控電動水蜜桃APP有色视频(以下簡稱遙控門)是由密碼遙控器(包括發射機和接收機)、主控電路、電力驅動裝置、門體等組成。遙控鉛門可以在10米內就能使門開啟或關閉。操作時隻需手持發射機發出密碼控製信號,由安裝在門體附近的接收機接收,並控製電動裝置運轉,驅使門體運動。遙控門適用範圍廣,如用於醫院,汽車庫,司機開車出入門均不需下車;用於金庫等待殊場合,則密碼更能顯示其保安防護的優越性.由於遙控接收機置於人不易觸及的部位,並且電動裝置設於鉛門背後,鉛門的正麵無門鎖,所以門不易受到破壞而坡打開.為了防止外人接觸門體,尚可安裝觸摸報警器,則防護性能更高。由於遙控門具有獨特的優越性,國外發達國家已普遍推廣使用。下麵介紹遙控鉛防護門的工作原理。
密碼遙控器采用紅外遙控技術和編譯碼技術,密碼組數超過一百萬種。
(1)密碼發射電路
密碼發射機原理框圖和電路圖分別如圖1、圖2所示。

編碼振蕩器決定編碼的頻率,通過編碼器輸出的密碼信號去調製40kHZ的載波振蕩器,輸出幅移鍵控(ASK)的密碼信號,驅動發光二極管LED發出紅外密碼遙控信號.
從圖中可看出、密碼搖控器與通用遙控器相比,增加了密碼編碼電路,IC1的1-10腳為編碼端子,四態編碼,編碼端子的連接方式不同則構成不同的密碼.編碼輸入有兩種方式:①生產廠家固定了密碼.用戶可直接使用。②用撥碼開關連接,廠家告訴用戶密碼編碼方法,用戶使用時可自行編號。前者適用於一般場合,使用方便,缺點是發射機與普通鑰匙類似,任何人使用此發射機都能開、關門;後者專用於醫院、金庫等特殊場所.保密性高,但操作人員須熟記編製的密碼號.操作較複雜,且體積略大。
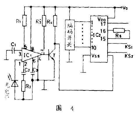
(2)接收電路
接收機原理框圖和電路圖分別如圖3、圖4所示。

紅外密碼遙控信號經光電變換和信號分路譯碼識別後,根據發射端信號的類型,分別由編碼輸出KS1或KS2輸出有效脈衝。
當圖4的編碼端與圖2中編碼端接法一致.並且編碼振蕩器頻率也相同時.接收機中譯碼電路IC2可以解出發射機中IC1的密碼,即當按下發射按鈕KF1時,編碼輸出KS1有脈衝信號輸出,按下KF2時,KS2有脈衝信號輸出.以實現密碼遙控的功能。KS1經驅動器I控製門的運動方向(電機正、逆、空檔),KS2經驅動器I控製門的運動或停止(電機轉動或停止)。隻有當繼電器,I1. I3,或I2.I3吸合時,防輻射鉛門才能動作。當門動作時,任意按動發射電路的KF1或KF2、門都會停止運動。延時環節的作用是當按動發射機按鈕後,保證KS連續輸出信號,數分鍾後自動切斷輸出,從而保證電動裝置在工作完成後自動斷電(延時電路見圖5),